Home  |  High-End Audio Reviews  Audiophile Shows  Partner Mags  Hi-Fi / Music News

High-End High-Performance Audiophile Review Magazine & Hi-Fi Audio Equipment Reviews
Audiophile Equipment Review Magazine High-End Audio

  High-Performance Audio Reviews
  Music News, Show Reports, And More!

  30 Years Of Service To Music Lovers

 

Enjoy the Music.com Review Magazine

Sound Practices Magazine Online!

Sound Practices Magazine Online!

 

A No-Nonsense Line Conditioner
Article By Mike Van Evers
From Sound Practices Issue 4, Summer 1993

 

 

WARNING: This project, like many others, involves working with voltage and currents that can kill you or burn down your house with you in it. So please, please don't attempt it on your own if you aren't well beyond the beginner stage.

 

I hope that it comes as no great surprise that line filters will improve the sound of your audio system. I'm not going to try to prove it to the skeptics. I'll just nod in  agreement and congratulate them when they do discover the benefits of less noise filling up the blank spaces in their music. Line filters have been around in commercial use for several decades, primarily for keeping RFI / EMI out of computers and other digital equipment. Tice, API, and others have made versions that are application specific for audio that, according to many thousands of users, do a good job.

I have been making line filters for several years. Until May of this year, they were just another "something else" that I researched and then built. They were used in recording and playback systems for pro audiophile recordings. Other people had heard improvements, but I hadn't taken the time to do a serious 'before and after' listening test. When I did, I can tell you that it was a big eye opener. To make a long story short, line conditioners and power cords are what I "do" now.

This isn't the high-class design that I'm presently marketing, but it is a DIY design that is effective and fairly easy to build. It will help clean up some of the noise that the power line is "powerless" to prevent from grunging up your sound. I measured attenuation at 1 MHz of 50dB for the first section, 70dB for the second, and over 80dB at the digital outlet.

I tested the frequency response of one of the power transformers that I used as a choke in this project. It was flat from 20Hz to 2MHz; then its response tilted UP and it peaked at 5MHz! Scary, yes? Electronics, both passive and active, are full of self-resonant passive components. All passive components, especially transformers and capacitors, resonate. Unwanted RF noise can play havoc with your electronics.

The filter elements that I've selected are  easy to find used or surplus. If you can't find a local source try Fair Radio Sales in Lima, OH. They should have something that will work, and for a great price. Corcom-type filters can be had from most surplus outlets, including Hosfelt Electronics at (800) 524-6464.

A high-end audio magazine recently published an article focusing on a line filter that used a choke as its only element. Yes, this approach will work, but there is a price to pay. A mention was made about loss of dynamics and this is the direct result of the AC and DC resistance of the choke. To keep from repeating this mistake, my DIY line filter uses multiple stages and doesn't use series elements that can adversely affect the 60 Hz impedance of the line in the mains supply to the power amplifiers.

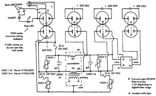
The line filter's duplex outlets are mounted to 4" X 4" metal covers that mount to 4" x 4" extension-type bottomless metal electrical boxes. These boxes are then mounted to a wooden box that contains the main filter elements. Use a piece of copper wire to daisy-chain the green screws together. The metal electrical box parts are available from many sources. The line cord's line, neutral, and ground wires are connected directly to the outlet that your power amp will use, thus minimizing the AC/DC resistance. The white-jacketed wire is "neutral" and connects to the silver-colored screw terminal. The black-jacketed wire is "line" and connects to the brass-colored screw terminal.

The first filter element is 2 to 4 uFs worth of  2000V oil capacitors. This is wired from line to neutral across the first outlet Underwriter's laboratories says DC rated capacitors for across-the-line use should be rated at least 1500 VDC. I like to exceed UL ratings, hence my selection of 2kV caps. A 25 Ampere-125 VAC fuse is wired in series with the capacitor. The fuse will blow if lightning causes the filter/surge protection elements to short. The high value is necessary because derating is necessary when dealing with the micro-second, high-amperage current pulses associated with lightning induced surges. The MOVs are protection against surges and should be wired through fuses because the failure mode for MOVs is to short-circuit.

 

 

 The next element is the high amperage, dual secondary transformer. This gets wired as a common-mode choke with one secondary winding in series with the line, and the other secondary in series with the neutral. Both secondaries have to be wired in-phase (see "how to" diagram to the eight). The primary will not be used and should be well insulated with electrical tape to prevent accidents. There will be some leakage between the secondaries and the case of the transformer, so ground the case.

The third element is 2 to 4 uFs of 1500 to 2000 Volt oil capacitors. This voltage rating can be slightly lower than in the first stage because transient spikes will be reduced first by the MOV across the first filter element and second by the choke. Two or more duplex outlets across this filter will provide power for preamps, tuners, analog tape decks, etc.

An optional fourth filter element will further clean up and isolate "things". A surplus Corcom-type filter can be wired to the third filter element or, if you already have one, a Tripplite can be plugged into one of the outlets across the third filter element. Surplus filters come in many shapes, sizes, and amperage ratings. If you are not ignoring the convenience of digital and have a CD player, then almost any Corcom-type filter will work. If you have an extensive video set-up, then use a 3 to 6 Ampere filter, or use a Tripplite plugged into one of the outlets wired across the third element. Mount the surplus Corcom-type filter to the wooden box. Use two filters if you have both digital and video. This keeps the one from interfering with the other, and both of them from interfering with your analog.

 

 

That completes the description of the placement of the major filter elements. A 0.1uF 250 VAC UL approved capacitor should be wired directly across each outlet. Wrap the leads CCW around the screw terminals. Tightening the screws will then tend to loosen the tension on the capacitor leads, rather than pulling the leads off the capacitor.

 

 

A voltmeter test should now be carried out. A low-Ohms or "continuity" setting should be selected. Use the probes to try all combinations of an outlet: line to neutral, line to ground, and neutral to ground. There should be no continuous low-impedance reading or continuous "bee-eep". If there is, start at the last outlet and disconnect its wires and retest. Do this until you find and correct the problem. A momentary low-impedance reading or short "beep" may be noticed when checking the line and neutral. The key word is "momentary." As the 4 uF cap charges up, the beep or the low-impedance reading will go away. This is normal and is to be expected. It's also a good way to tell if you remembered to put in a fuse. Next, check for continuity between all the tall slots (neutral) of all the outlets. Do the same for "line" and ground.

Install and enjoy.

 

 

 

Parts Source
Fair Radio Sales
PO Box 1105
Lima, OH 45802

(419) 223-2196
Website: www.fairradio.com

 

 

 

 

 

 

 

 

 

 

 

 

 

 

 

 

 

 

 

 

 

 

 

 

 

 

 

 

 

 

 

 

 

 

 

 

 

 

 

 

 

 

 

 

 

 

 

 

 

 

     

Premium Audio Review Magazine
High-End Audiophile Equipment Reviews

 

Equipment Review Archives
Turntables, Cartridges, Etc
Digital Source
Do It Yourself (DIY)
Preamplifiers
Amplifiers
Cables, Wires, Etc
Loudspeakers/ Monitors
Headphones, IEMs, Tweaks, Etc
Superior Audio Gear Reviews


Show Reports
Capital Audiofest 2025
Toronto Audiofest 2025
HIGH END Munich 2025
Lone Star Audio Fest 2025
AXPONA 2025 Show Report
Montreal Audiofest 2025 Show
Southwest Audio Fest 2025
Florida Intl. Audio Expo 2025
UK Audio Show 2024
Pacific Audio Fest 2024
...More Show Reports

 

Videos
Our Featured Videos


Industry & Music News

High-End Audio & Music News

 

Partner Print Magazines
audioXpress
hi-fi+ Magazine
Sound Practices
VALVE Magazine

 

For The Press & Industry
About Us
Press Releases
Official Site Graphics

 

   

 

Home  |  High-End Audio Reviews  |  Audiophile Show Reports  Hi-Fi / Music News  About Us  |  Contact Us

 

 

All contents copyright©  1995 - 2025  Enjoy the Music.com®
May not be copied or reproduced without permission.  All rights reserved.